轉子泵MBR膜工藝應用(注意事項)
文章出處:MBR浸沒式膜處理(膜負壓抽吸泵,反沖洗泵) 網責任編輯: 奧戈恩 閱讀量: 發表時間:2019-09-28 11:45:50
![]() | ![]() |
1.自吸時最好使泵內有介質
如使用時需要自吸,最好保持泵內有介質,使轉子和泵殼之間更好的密封,以便更有效的產生真空,這時最好使用奧戈恩公司的“鵝頸法蘭”;

2.進口管徑不能過大,進口管長不能過長
自吸的情況下,進口段不要使用過大的管徑,盡量使管的長度不要太長,以免進口端空氣過多,增加凸輪轉子泵干運行的時間;

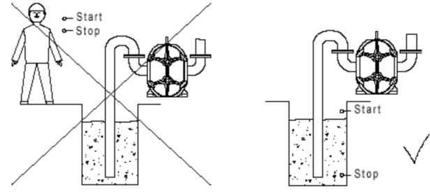
3.凸輪轉子泵系統最好使用自動控制
手動控制凸輪轉子泵使凸輪轉子泵系統面臨著人為錯誤的危險,如:沒有打開泵前后的閥門就啟動泵、泵前的液位過低但沒有關閉泵。因此最好使用傳感器來自動控制泵系統;

4.避免凸輪轉子泵長時間干運
最好使用熱敏探頭來避免凸輪轉子泵體溫度過高

5.增加少量的水避免干運行
奧戈恩凸輪轉子泵在出廠時法蘭上會帶有一個小的接口,如果能引入一股小流量的沖洗水,可以最大限度的避免系統干運行的危險。

6.盡量避免管道內積氣,以免反沖洗時氣體進入膜組件,設置排氣閥或排氣統。
- 奧戈恩生產的排澇泵車泵頭有什么技術優勢特點?
- 第十七屆中國國際石油石化技術裝備展覽會(CIPPE)
- 奧戈恩轉子泵亮相華南高品質環保展——2016中國環博會廣州展
- 東風大流量排水泵車簡介、性能參數
- 防汛搶險皮卡車簡介、特點及性能參數
- 奧戈恩轉子泵排澇泵車的組成有哪些部分?
- 奧戈恩轉子泵排澇泵車的應用場景有哪些?
- 排澇泵車能適用于什么工況,有什么優勢
- 牛糞轉子泵價格是否非常昂貴
- 泵用剪切機適合切割哪些介質?使用領域廣泛嗎?
- 豬糞轉子泵是否會在運行時頻繁堵塞
- 污泥進料泵維護成本是否很高
- 回流污泥轉子泵能夠長時間穩定使用?
- 剩余污泥轉子泵具有什么優勢
- 污油回收泵有著哪一些產品特性
- 雞糞泵是否能夠長久使用?運行穩定性怎么樣
- 低剪切力泵能夠處理哪些介質?
- 防汛移動泵車主要應用于什么范圍
- 如何選購到優質的消防泡沫液泵?
- 餐廚垃圾泵使用具有哪些特點?








